高壓氧氣流量計,氧氣計量用什么流量計
點擊次數:2469 發布時間:2020-11-06 09:39:28
高壓氧氣流量計參數
1、口徑:DN15~DN3000mm
2、公稱壓力:0.6~42MPa
3、工況溫度:-180~+500℃
4、精度:±1.5%FS
5、輸出信號:4~20mA二線制;脈沖0~1000HZ;RS232/RS485(或按用戶要求協商提供)
6、防護等級:IP65 IP67
7、防爆標志:本安型ExiallCT4;隔爆型ExdllCT4
8、執行標準:企標Q/BET05-06
9、表頭顯示:累積流量;瞬時流量;工況溫度;工況壓力(溫壓補償式才有);棒狀滿量程百分比;故障自檢
10、公稱通徑:卡裝式:DN10~DN300; 插入式:DN350~DN1000; 法蘭式:DN10~DN3000

高壓氧氣流量計流量范圍
常用氣體介質的標準狀態密度(0℃,絕壓P=0.1MPa)
高壓氧氣流量計產品型譜
高壓氧氣流量計分類




高壓氧氣流量計的安裝要求(D為管道的直徑)
安裝條件
1、工作條件
傳感器可在2下正常連續工作
2、環境條件
2.1環境溫度:-40~+55℃ (非防爆場所)
2.2環境濕度:≤85%(相對濕度)
2.3大氣壓力:86~106Kpa
3、安裝指南:
a)傳感器安裝在管道上的位置一定要選振動小的地方,振動加速度不能大于0.2g,如大于需要采取減震措施。
b)傳感器的上游側和下游側必須有足夠的直管段見示意圖。

c)對于卡裝連接儀表,法蘭焊后必須保證法蘭的端面與管道垂直,內表面光滑,見圖。

d)傳感器可水平、垂直或傾斜安裝在直管上,當垂直安裝測液體時,液體必須由下而上流動。
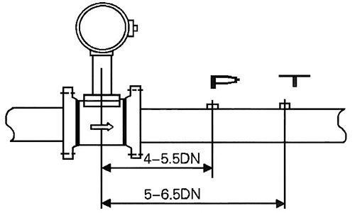
e)當在渦街流量傳感器同壓力傳感器和溫度傳感器組成測量系統時,其壓力、溫度測量點的位置如圖。

f)渦街流量傳感器安裝步驟可參考方法A或方法B(以法蘭卡裝型為例):
方法A:
Ⅰ選定安裝位置,并取前15DN,后5DN直管段割下。

Ⅱ在選表位置焊上兩片法蘭,并將傳感器裝好。
Ⅲ去掉原管多出的直管(即表體寬度)。

Ⅳ將傳感器的前后直管段焊到原工藝管道上。

方法B:
Ⅰ考慮前15DN,后5DN選定裝表位置。

Ⅱ取下表體寬度的一段管,焊上兩片法蘭連接孔同心,將傳感器螺栓緊固好。

高壓氧氣流量計概述
渦街流量計由法蘭卡裝式流量傳感器和顯示儀表組成。法蘭卡裝式流量計將專用法蘭焊接在工藝管道上,然后用螺栓、螺母將儀表固定在兩個法蘭之間。安裝簡單便捷,成本低。本公司提供專用法蘭,不需另行購買安裝法蘭。
渦街流量計與現場顯示儀組合后,成為智能一體化流量計,分別用于飽和蒸汽流量計量、過熱蒸汽流量計量、各種化學氣體流量計量和各種液體流量計量。
高壓氧氣流量計的工作原理
在流體中設置非流線型旋渦發生體(阻流體),則從旋渦發生體兩側交替地產生兩列有規則的旋渦,這種旋渦稱為卡曼渦街,如圖所示。

旋渦列在旋渦發生體下游非對稱地排列。設旋渦的發生頻率為f,被測介質來流的平均速度為V,旋渦發生體迎流面寬度為d,表體通徑為D,根據卡曼渦街原理,有如下關系式:
f=StV/d 公式(1)
式中:
f-發生體一側產生的卡門旋渦頻率
St-斯特羅哈爾數(無量綱數)
V-流體的平均流速
d-旋渦發生體的寬度
由此可見,通過測量卡門渦街分離頻率便可算出瞬時流量。其中,斯特羅哈爾數(St)是無因次未知數,
圖表示斯特羅哈爾數(St)與雷諾數(Re)的關系。

在曲線表中St=0.17的平直部分,漩渦的釋放頻率與流速成正比,即為渦街流量傳感器測量范圍度。只要檢測出頻率f就可以求得管內流體的流速,由流速V求出體積流量。所測得的脈沖數與體積量之比,稱為儀表常數(K),見式(2)
K=N/Q(1/m³) 公式(2)
式中:K=儀表常數(1/m³)。
N=脈沖個數
Q=體積流量(m³)
高壓氧氣流量計產品特點
1.測量介質: 氣體、液體、蒸氣;
2.口徑規格 法蘭卡裝式口徑選擇 25,32,50,80,100;
3.法蘭連接式口徑選擇 100,150,200;
4.流量測量范圍 正常測量流速范圍 雷諾數1.5×104~4×106;氣體5~50m/s; 液體0.5~7m/s;
正常測量流量范圍 液體、氣體流量測量范圍見表2; 蒸氣流量范圍見表3
5.測量精度 1.0級 1.5級;
6.被測介質溫度:常溫–25℃~100℃;
7.高溫–25℃~150℃ -25℃~250℃;
8.輸出信號 脈沖電壓輸出信號 高電平8~10V 低電平0.7~1.3V;
9.脈沖占空比約50%,傳輸距離為100m;
10.脈沖電流遠傳信號 4~20 mA,傳輸距離為1000m;
11.儀表使用環境 溫度:-25℃~+55℃ 濕度:5~90% RH50℃;
12.材質 不銹鋼, 鋁合金;
13.電源 DC24V或鋰電池3.6V;
14.防爆等級 本安型iaIIbT3-T6;
15.防護等級 IP65。
浮標式氧氣流量計,液氧氣流量計
氧氣流量計合理的取壓方式對于測量效果的影響
浮標式氧氣流量計,氧氣流量計廠家
影響高壓氧氣流量計在現場測不準的因素有哪些
dn20氧氣流量計在集中供熱系統中的蒸汽計量
管道氧氣流量計存在的十種典型問題及相應解決方法
氧氣流量計在氧化鋁生產中常見故障分析及處理方法
導致高壓氧氣流量計測量數據偏差的因素分析
影響dn20氧氣流量計安裝要求及影響測量精度的技術分析
工業氧氣流量計常見故障分析及處理方法
管道氧氣流量計在供熱系統中技術問題討論
dn25氧氣流量計遇到的常見故障怎么調怎么排除
dn15氧氣流量計對于差壓式儀表的選型及未來發展分析
氮氣氧氣流量計容易出現的問題作出的分析及相應解決方法
浮標式氧氣流量計
浮標式氧氣流量計,dn20氧氣流量計
使用氧氣流量計選型進行蒸汽測量時需要注意那些要求
氧氣流量計無輸出信號及其他安裝故障的判斷和處理
管道氧氣流量計在用作蒸汽流量測量時產生誤差的原因分析
變徑整流器在氧氣流量計的流量測量中的作用及應用介紹
醫用氧氣流量計,氧氣渦街流量計廠家
醫用氧氣流量計,氧氣流量計價格
醫用氧氣流量計,氧氣流量計廠家
高壓氧氣流量計,工業氧氣計量表
dn20氧氣流量計,氧氣流量計量表
工業氧氣流量計,氧氣流量計量表
dn20氧氣流量計,氧氣計量用什么流量計
氧氣計量用什么流量計,氧氣流量計量表
高壓氧氣流量計,氧氣流量計價格
dn20氧氣流量計,醫用氧氣流量計
1、口徑:DN15~DN3000mm
2、公稱壓力:0.6~42MPa
3、工況溫度:-180~+500℃
4、精度:±1.5%FS
5、輸出信號:4~20mA二線制;脈沖0~1000HZ;RS232/RS485(或按用戶要求協商提供)
6、防護等級:IP65 IP67
7、防爆標志:本安型ExiallCT4;隔爆型ExdllCT4
8、執行標準:企標Q/BET05-06
9、表頭顯示:累積流量;瞬時流量;工況溫度;工況壓力(溫壓補償式才有);棒狀滿量程百分比;故障自檢
10、公稱通徑:卡裝式:DN10~DN300; 插入式:DN350~DN1000; 法蘭式:DN10~DN3000

高壓氧氣流量計流量范圍
| 口徑(mm) | 液體測量范圍(m3/h) | 輸出頻率(Hz) | 氣體測量范圍(m3/h) | 輸出頻率(Hz) |
| DN25 | 1~12 | - | 10~100 | - |
| DN32 | 1.5~23 | - | 15~150 | - |
| DN40 | 2.4~32 | - | 23~230 | - |
| DN50 | 4~50 | - | 35~350 | - |
| DN80 | 10~130 | - | 90~900 | - |
| DN100 | 20~200 | - | 140~1400 | - |
| DN150 | 31~310 | - | 300~3000 | - |
| DN200 | 45~450 | - | 550~5500 | - |
| DN250 | 80~800 | - | 880~8800 | - |
| DN300 | 150~150 | - | 1300~13000 | - |
| (DN300) | 100~1500 | 5.5~87 | 1560~15600 | 85~880 |
| (DN400) | 180~3000 | 5.6~87 | 2750~27500 | 85~880 |
| (DN500) | 300~4500 | 5.6~88 | 4300~43000 | 85~880 |
| (DN600) | 450~6500 | 5.7~89 | 6100~61000 | 85~880 |
| (DN800) | 750~10000 | 5.6~88 | 11000~110000 | 85~880 |
| (DN1000) | 1200~17000 | 5.8~88 | 17000~170000 | 85~880 |
常用氣體介質的標準狀態密度(0℃,絕壓P=0.1MPa)
| 氣體名稱 | 密度(kg/m3) | 氣體名稱 | 密度(kg/m3) |
| 空氣(干) | 1.2928 | 乙炔 | 1.1717 |
| 氮氣 | 1.2506 | 乙烯 | 1.2604 |
| 氧氣 | 1.4289 | 丙烯 | 1.9140 |
| 氬氣 | 1.7840 | 甲烷 | 0.7167 |
| 氖氣 | 0.9000 | 乙烷 | 1.3567 |
| 氨氣 | 0.7710 | 丙烷 | 2.0050 |
| 氫氣 | 0.08988 | 丁烷 | 2.7030 |
| 一氧化碳 | 1.97704 | 天然氣 | 0.8280 |
| 二氧化碳 | 1.3401 | 煤制氣 | 0.8020 |
高壓氧氣流量計產品型譜
| 型號 | 口徑 | 流量范圍m³/h | |||||||||
| 液體 | 氣體 | 飽和蒸汽 | |||||||||
| LU-25 | DN25 | 1~10 | 25~60 | 10~85 | |||||||
| LU-32 | DN32 | 1.5~18 | 15~150 | 14~140 | |||||||
| LU-40 | DN40 | 2.2~27 | 22.6~150 | 22~220 | |||||||
| LU-50 | DN50 | 4~55 | 35~350 | 35~350 | |||||||
| LU-65 | DN65 | 14~200 | 60~600 | 60~600 | |||||||
| LU-80 | DN80 | 9~135 | 90~900 | 86~860 | |||||||
| LU-100 | DN100 | 14~200 | 140~1400 | 135~1350 | |||||||
| LU-125 | DN125 | 12~360 | 220~2200 | 210~2100 | |||||||
| LU-150 | DN150 | 30~450 | 350~3500 | 300~3000 | |||||||
| LU-200 | DN200 | 56~800 | 550~5500 | 550~5500 | |||||||
| LU-250 | DN250 | 45~1500 | 900~9000 | 850~8500 | |||||||
| LU-300 | DN300 | 65~2000 | 1360~13600 | 1250~12500 | |||||||
| 代號 | 功能1 | ||||||||||
| N | 無溫壓補償 | ||||||||||
| Y | 有溫壓補償 | ||||||||||
| 代號 | 輸出型號 | ||||||||||
| F1 | 4-20mA輸出(二線制) | ||||||||||
| F2 | 4-20mA輸出(三線制) | ||||||||||
| F3 | RS485通訊接口 | ||||||||||
| 代號 | 被測介質 | ||||||||||
| J1 | 液體 | ||||||||||
| J2 | 氣體 | ||||||||||
| J3 | 蒸汽 | ||||||||||
| 代號 | 連接方式 | ||||||||||
| L1 | 法蘭卡裝式 | ||||||||||
| L2 | 法蘭連接式 | ||||||||||
| 代號 | 功能2 | ||||||||||
| E1 | 1.0級(適用于液體) | ||||||||||
| E2 | 1.5級 | ||||||||||
| T1 | 常溫 | ||||||||||
| T2 | 高溫 | ||||||||||
| T3 | 蒸汽 | ||||||||||
| P1 | 1.6MPa | ||||||||||
| P2 | 2.5MPa | ||||||||||
| P3 | 4.0MPa | ||||||||||
| D1 | 內部3.6V供電(不帶輸出) | ||||||||||
| D2 | DC24V供電 | ||||||||||
| B1 | 不銹鋼(法蘭材質) | ||||||||||
| B2 | 碳鋼(法蘭材質) | ||||||||||
高壓氧氣流量計分類




高壓氧氣流量計的安裝要求(D為管道的直徑)
| 管道情況 | 上游 | 下游 |
| 同心收縮管 全開閘閥 | 15D | 5D |
| 90℃直角彎頭 | 20D | 5D |
| 同平面二個90℃彎頭 | 25D | 5D |
| 半開閘閥 調節閥 | 50D | 5D |
| 不同平面二個90℃彎頭 | 40D | 5D |
| 帶整流管束 | 12D | 5D |
1、工作條件
傳感器可在2下正常連續工作
2、環境條件
2.1環境溫度:-40~+55℃ (非防爆場所)
2.2環境濕度:≤85%(相對濕度)
2.3大氣壓力:86~106Kpa
3、安裝指南:
a)傳感器安裝在管道上的位置一定要選振動小的地方,振動加速度不能大于0.2g,如大于需要采取減震措施。
b)傳感器的上游側和下游側必須有足夠的直管段見示意圖。

c)對于卡裝連接儀表,法蘭焊后必須保證法蘭的端面與管道垂直,內表面光滑,見圖。

d)傳感器可水平、垂直或傾斜安裝在直管上,當垂直安裝測液體時,液體必須由下而上流動。
e)當在渦街流量傳感器同壓力傳感器和溫度傳感器組成測量系統時,其壓力、溫度測量點的位置如圖。

f)渦街流量傳感器安裝步驟可參考方法A或方法B(以法蘭卡裝型為例):
方法A:
Ⅰ選定安裝位置,并取前15DN,后5DN直管段割下。

Ⅱ在選表位置焊上兩片法蘭,并將傳感器裝好。
Ⅲ去掉原管多出的直管(即表體寬度)。

Ⅳ將傳感器的前后直管段焊到原工藝管道上。

方法B:
Ⅰ考慮前15DN,后5DN選定裝表位置。

Ⅱ取下表體寬度的一段管,焊上兩片法蘭連接孔同心,將傳感器螺栓緊固好。

高壓氧氣流量計概述
渦街流量計由法蘭卡裝式流量傳感器和顯示儀表組成。法蘭卡裝式流量計將專用法蘭焊接在工藝管道上,然后用螺栓、螺母將儀表固定在兩個法蘭之間。安裝簡單便捷,成本低。本公司提供專用法蘭,不需另行購買安裝法蘭。
渦街流量計與現場顯示儀組合后,成為智能一體化流量計,分別用于飽和蒸汽流量計量、過熱蒸汽流量計量、各種化學氣體流量計量和各種液體流量計量。
高壓氧氣流量計的工作原理
在流體中設置非流線型旋渦發生體(阻流體),則從旋渦發生體兩側交替地產生兩列有規則的旋渦,這種旋渦稱為卡曼渦街,如圖所示。

旋渦列在旋渦發生體下游非對稱地排列。設旋渦的發生頻率為f,被測介質來流的平均速度為V,旋渦發生體迎流面寬度為d,表體通徑為D,根據卡曼渦街原理,有如下關系式:
f=StV/d 公式(1)
式中:
f-發生體一側產生的卡門旋渦頻率
St-斯特羅哈爾數(無量綱數)
V-流體的平均流速
d-旋渦發生體的寬度
由此可見,通過測量卡門渦街分離頻率便可算出瞬時流量。其中,斯特羅哈爾數(St)是無因次未知數,
圖表示斯特羅哈爾數(St)與雷諾數(Re)的關系。

在曲線表中St=0.17的平直部分,漩渦的釋放頻率與流速成正比,即為渦街流量傳感器測量范圍度。只要檢測出頻率f就可以求得管內流體的流速,由流速V求出體積流量。所測得的脈沖數與體積量之比,稱為儀表常數(K),見式(2)
K=N/Q(1/m³) 公式(2)
式中:K=儀表常數(1/m³)。
N=脈沖個數
Q=體積流量(m³)
高壓氧氣流量計產品特點
1.測量介質: 氣體、液體、蒸氣;
2.口徑規格 法蘭卡裝式口徑選擇 25,32,50,80,100;
3.法蘭連接式口徑選擇 100,150,200;
4.流量測量范圍 正常測量流速范圍 雷諾數1.5×104~4×106;氣體5~50m/s; 液體0.5~7m/s;
正常測量流量范圍 液體、氣體流量測量范圍見表2; 蒸氣流量范圍見表3
5.測量精度 1.0級 1.5級;
6.被測介質溫度:常溫–25℃~100℃;
7.高溫–25℃~150℃ -25℃~250℃;
8.輸出信號 脈沖電壓輸出信號 高電平8~10V 低電平0.7~1.3V;
9.脈沖占空比約50%,傳輸距離為100m;
10.脈沖電流遠傳信號 4~20 mA,傳輸距離為1000m;
11.儀表使用環境 溫度:-25℃~+55℃ 濕度:5~90% RH50℃;
12.材質 不銹鋼, 鋁合金;
13.電源 DC24V或鋰電池3.6V;
14.防爆等級 本安型iaIIbT3-T6;
15.防護等級 IP65。
上一篇:氫氣流量計價格,測量氫氣流量計


